Еще один патент Apple намекает на "безграничный" экран в iPhone 8

Zakon.kz, фото - Новости Zakon.kz от 13.10.2016 21:44 Zakon.kz
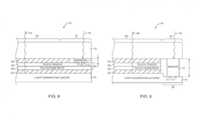
Бюро США по патентам и торговым маркам (USPTO) зарегистрировало еще одно изобретение Apple, которое позволит американской компании создать безрамочный "айфон" с экраном от края до края.
Новая разработка предполагает встраивание датчика внешней освещенности прямо в экран смартфона, сообщает vesti.ru.

Патент описывает различные способы, благодаря которым сенсор может быть спрятан под дисплей iPhone (c пересечением сенсорного слоя или без), а не размещен, как сейчас, возле динамика и фронтальной камеры. Аналогичным образом может быть скрыт "датчик близости или любой другой сенсор.

Как пишут инженеры Apple, стандартное местоположение датчика "может привести к нежелательному увеличению размера и веса устройства, если не соблюдать осторожность, дисплеи могут быть громоздкими или окружены чрезмерно большими границами. Вследствие этого было бы желательно иметь возможность предоставить улучшенные электронные устройства с датчиками освещенности и экранами".

Также специалисты i-компании описывают способы маскировки краев (например, углеродным полимером или другим непрозрачным материалом), что позволяет создать экран без видимых границ. Тем не менее, такие области неактивы — на касание они реагировать не будут.
Поделитесь новостью
Поделитесь новостью:
Следите за новостями zakon.kz в:
Если вы видите данное сообщение, значит возникли проблемы с работой системы комментариев. Возможно у вас отключен JavaScript
Сообщите об ошибке на странице
Ошибка в тексте: